3DS新专利:上屏触摸及AR实体化成为可能
时间:2012-06-01 13:36:34 来源:未知 作者:小四 热度: 121 次
今天,网络上曝光了一条任天堂的新专利产品,这个新专利能够让3DS的上屏幕也能够触摸,而且还能使用这支笔让AR卡显示的物体直接操作成为可能。
今天,网络上曝光了一条任天堂的新专利产品,这个新专利能够让3DS的上屏幕也能够触摸,而且还能使用这支笔让AR卡显示的物体直接操作成为可能。
任天堂申请了一个有关于3DS的新专利,这个新的专利是一支新的手写笔,利用手写笔的内建功能,可以让上屏幕的镜头感应到笔中的装置,可以利用这个手写笔直接对上屏幕的画面进行操控。
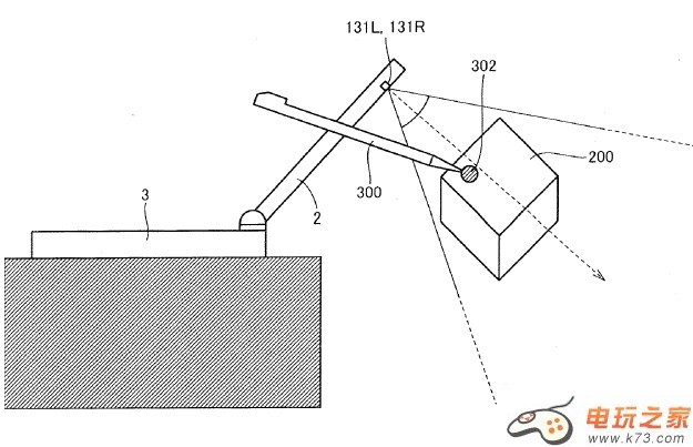
另外这手写笔还可以直接在屏幕外与屏幕内互动,如上图,被映射出来的3D物件可以使用手写笔直接在空中进行操控等等。
当然他不是只有内屏幕能使用,在外屏幕方面,当你使用AR卡进行游戏时,手写笔也可以直接对AR卡进行任何操控。
这并非任天堂第一次对游戏的摄像镜头作出互动,在以前的瓦里奥制造中其实就有过利用镜头的游戏过,当然这个专利要如何应用于游戏,就必须要游戏厂商思考了。
任天堂申请了一个有关于3DS的新专利,这个新的专利是一支新的手写笔,利用手写笔的内建功能,可以让上屏幕的镜头感应到笔中的装置,可以利用这个手写笔直接对上屏幕的画面进行操控。
另外这手写笔还可以直接在屏幕外与屏幕内互动,如上图,被映射出来的3D物件可以使用手写笔直接在空中进行操控等等。
当然他不是只有内屏幕能使用,在外屏幕方面,当你使用AR卡进行游戏时,手写笔也可以直接对AR卡进行任何操控。
这并非任天堂第一次对游戏的摄像镜头作出互动,在以前的瓦里奥制造中其实就有过利用镜头的游戏过,当然这个专利要如何应用于游戏,就必须要游戏厂商思考了。
k73更懂你:
热门新闻
我要评论 查看全部评论 (0)>>















![ps4固件最新版下载[含ps4hen 2.1.5]](http://pic.k73.com/up/soft/2024/0725/183524_70115517.jpg)
