PS MOVE新体感专利曝光
时间:2013-01-12 11:45:52 来源:未知 作者:小四 热度: 58 次
专利这个东西往往是个较为混杂的内容,有些时候他们会变成一些有形的东西,而大多数情况它们只是停留在一个想法上。索尼于日前再次公开了一个PS MOVE的新的专利,让我们来看看这些专利图吧!
专利这个东西往往是个较为混杂的内容,有些时候他们会变成一些有形的东西,而大多数情况它们只是停留在一个想法上。索尼于日前再次公开了一个PS MOVE的新的专利,让我们来看看这些专利图吧!




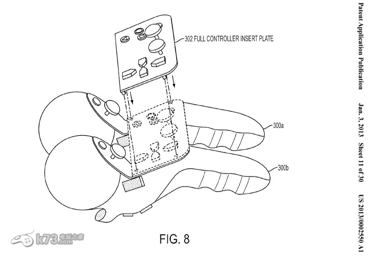
然而,这里值得一提的是索尼的这个新专利对他的PS MOVE进行了全新的设计,这个专利是在今年的1月3日被提出来的,相比PS MOVE,图片中揭示的新专利的PS MOVE将拥有两个更加大的球(0.0)和新的手柄,同时这两个手柄的底部还可以更换按键和连接器.
这些图片中存在许多的疑问:这个专利最终能否成为现实?索尼是否会推出一个新的PS MOVE手柄呢?




然而,这里值得一提的是索尼的这个新专利对他的PS MOVE进行了全新的设计,这个专利是在今年的1月3日被提出来的,相比PS MOVE,图片中揭示的新专利的PS MOVE将拥有两个更加大的球(0.0)和新的手柄,同时这两个手柄的底部还可以更换按键和连接器.
这些图片中存在许多的疑问:这个专利最终能否成为现实?索尼是否会推出一个新的PS MOVE手柄呢?
k73更懂你:
热门新闻
我要评论 查看全部评论 (0)>>















![ps4固件最新版下载[含ps4hen 2.1.5]](http://pic.k73.com/up/soft/2024/0725/183524_70115517.jpg)
